信息顯示,近日,北京小米移動軟件有限公司“光機波導組件和 AR 眼鏡”專利獲授權。

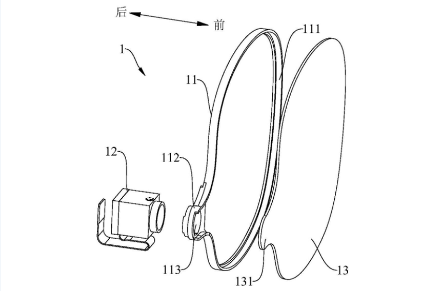
摘要顯示,本實用新型公開了一種光機波導組件和 AR 眼鏡,光機波導組件包括:支架;光機,波導件和屈光度調節組件,所述光機設在所述支架上,所述光機適于輸出圖像光束;所述波導件設在所述支架上,所述波導件適于傳輸所述圖像光束;所述屈光度調節組件設在所述光機的光束輸出端和 / 或所述波導件的光束輸入端和 / 或所述波導件的光束輸出端,所述屈光度調節組件適于調整所述圖像光束的成像焦距。本實用新型的光機波導組件實現了對圖像光束的成像焦距的調整,方便了視力障礙人群的使用,提升了用戶體驗。
特別提醒:本網信息來自于互聯網,目的在于傳遞更多信息,并不代表本網贊同其觀點。其原創性以及文中陳述文字和內容未經本站證實,對本文以及其中全部或者部分內容、文字的真實性、完整性、及時性本站不作任何保證或承諾,并請自行核實相關內容。本站不承擔此類作品侵權行為的直接責任及連帶責任。如若本網有任何內容侵犯您的權益,請及時聯系我們,本站將會在24小時內處理完畢。
站長資訊網